The present understanding of the makeup and functioning of the human body is a consequence of centuries of research. Initially most of this knowledge was dependent upon observations of living people, supplemented by philosophy. From the late medieval period onwards growing numbers of cadavers were dissected to examine their constituent parts and slowly the purpose and design of the various elements was discerned. To pass this information on and to gain further comprehension a number of teaching hospitals and university departments were established where students were shown the dissection of the lifeless bodies. Poor families could donate the bodies of deceased relatives in return for a reward to supplement their meagre incomes but to many this was an anathema. By the end of the 18th century Edinburgh University was one of the leading centres of anatomy in the world and students flocked there. The high demand for dead bodies led to a supply shortage and prices for them rose dramatically. In 1752 the British Parliament passed the Murder Act which allowed judges to substitute the public display of executed criminals with their dissection at such institutions. Whilst this significantly increased the number of bodies available it was not sufficient to meet the ever-increasing demand.
Corpses became a commodity and it soon became apparent that there was a legal grey area concerning those interred in graveyards. The bodies were not legally anyone’s property and so anyone taking one could not be charged with the theft of the body. The only crime for which they could be legally prosecuted was for the damage to the grave! Most of the time the people who removed such bodies superficially restored the grave side so that their actions would not be detected and it became common for them to remove any clothing or burial shrouds so that they could not be accused of stealing them.
Resurrectionists were body snatchers who were commonly employed by the anatomists during the 18th and 19th centuries to exhume the bodies of the recently dead. It was a term commonly used by the public and was not considered to be blasphemous. The legal vacuum concerning the dead meant that the civic authorities found it very difficult to prosecute the Resurrectionists and generally the practice was treated by them as an open secret and ignored. Even when caught red-handed the sentences were trifling. Whereas a petty thief might get transportation to Australia, a body snatcher would rarely get even half a year of imprisonment. In 1827, for example, three Resurrectionists were apprehended at Great Yarmouth; two of them were discharged and the third was sent to London for trial. He was imprisoned for only six months.
The Resurrectionists developed a network of informers who let them know when bodies were placed in the graveyards. These might be the local doctor who was also aware of interesting ailments or physical abnormalities. Sextons or beadles could also be collaborators and knew where the bodies were buried. At Polmont it was suspected that information on recent burials came from the beadle. There was a row of houses in the village called “Resurrection Row” which was built by the then gravedigger and beadle of the parish church during the 1830s. It was not every gravedigger who could afford to build property and the Polmont gravedigger was not considered wealthy – hence why local people christened his houses Resurrection Row and why the man was shunned by many locals (Recollections of James Robertson of Laurieston, Falkirk Herald 16 August 1902).
The Resurrectionists worked in small gangs of two or three men under the cover of darkness by the light of a small lamp. Their modus operandi was to dig out the uncompacted soil from one end of the grave using wooden spades to avoid making a noise. The position of the headstone or temporary marker allowed them to know at which end the head lay and this was preferred. If there was any turf it was carefully cut and laid to one side so that it could be neatly replaced at the end of the operation. Sacking or a sheet of canvas could be used to put the spoil on to make it easier to clean up. Upon hitting the lid of the coffin a sack was placed over it to deaden the sound of breaking it open. Two broad iron hooks inserted under the lid, pulled forcibly up with a rope, were sufficient to break off a sufficient portion of the lid to allow the body to be dragged out. It was hoisted vertically out of the hole, stripped of its clothing (which was thrown back into the grave), tied up and placed in another sack. The surface of the ground was then carefully restored to its former condition. The entire process took under half an hour.
The Resurrectionists were naturally careful to cover their tracks. One early trick to detect their activities was to leave small mementoes such as a shell on the grave, but the disturbers of the dead soon caught on to it and replaced anything in the same position. Consequently it was often years before their deeds were discovered. One such incident took place in 1818 but only came to light eleven years later, making newspaper headlines:
“MELONCHOLY OCCURRENCE – A melancholy accident occurred at the village of Redding, near Falkirk, on Tuesday the 3d inst. Robert Archibald, who kept a public house there, had for two months past shown symptoms of mental derangement. Lately he became quite outrageous; and having on the day above mentioned escaped from his house, although closely watched, he made his way to the mouth of a neighbouring coal-pit. His wife and daughter instantly followed, and seized the skirts of his coat when he was about to take the fatal leap; but in spite of their utmost efforts to refrain him, he threw off his coat and plunged into the pit. He was taken out lifeless and dreadfully mangled. When a grave was dug for him in Polmont Churchyard, the coffin of one of his children, who had been buried eleven years before, was found empty, no doubt the sacrilegious work of a resurrectionist – and this circumstance must have added greatly to the misery of the afflicted widow.”
(Stirling Journal 18 November 1829, reprinted from the Inverness Courier).
James Robertson recollected
“of one body disappearing from the Polmont Churchyard. A child belonging to the gardener employed by Miss Spiers died, and was buried there. On the following Sunday the parents went to the grave to view the place where their little one was supposed to be lying, and were astonished to observe very distinct evidences that the grave had been tampered with. They had it opened, and to their horror the grieved parents discovered that the coffin and child were gone. No trace of it was ever obtained.”
(Recollections of James Robertson of Laurieston, Falkirk Herald 16 August 1902).
Many educated people could see the merit of the anatomist’s work. There was, however, a dichotomy of opinion in the public at large with the vast majority finding the practice of grave robbing hideous and repulsive. Resurrectionists caught plying their trade ran the risk of physical attack and there are a number of cases on record of mob violence. One such instance is given elsewhere on this website and describes how on the night of 19 March 1823 a Resurrectionist called Thomas Stevenson or Hodge was caught red-handed driving a vehicle laden with three dead bodies up the High Street of Linlithgow – the infamous Resurrectionist Gig. He was handled extremely roughly and it was only due to the intervention of the local authorities that he was not lynched. The gig was burnt. The bodies had been removed from the churchyards at Larbert and Polmont.
Stevenson was subsequently tried and convicted. Due to having previous form, he was, unusually, given a harsh sentence and was ordered to be transported abroad for a period of seven years. He subsequently got off on a technicality as he was able to show that the body that he had been found guilty of taking had been misidentified – he had in fact dug that one up weeks before and sold it on to a different client. He received a pardon and was set at liberty.
The month after the riot in Linlithgow another took place in Stirling. On 19 April 1823 the trial of two local alleged “disturbers of the Dead” was abandoned “pro loco et tempore” (with the possibility of being taken up again). The men, James McNab and Daniel Mitchell, returned to their homes, but within hours large crowds gathered outside them and started to attack the dwellings and laid their hands on the miscreants. The Sheriff of Stirlingshire, the Provost of Stirling and Captain Jeffery of the 77th Regiment billeted at Stirling Castle, were able to rescue McNab and he was placed in the safety of the jail, but their endeavour to retrieve Mitchell failed. A party of the 77th was therefore called out and went to the house where Mitchell had taken temporary refuge. It was a dangerous cocktail – an irate crowd described as a “mob,” a grave robber and a number of drunken soldiers carrying firearms. They proceeded to the prison with their ward and had almost reached it when one of the soldiers, being intoxicated, fell and this enabled the crowd to press closer. Another soldier struck out at the assembled populace with the butt end of his musket and in reaction two men seized hold of the weapon and tried to take it. The flintlock was discharged prompting several other shots to be fired from his colleagues. This simply caused the mob to press even closer and several were injured by bayonets. The commanding officers tried to settle the soldiers, but by then the crowd had started to throw stones at the escort party and they received bad cuts, some being knocked down. Eventually Mitchell was deposited at the prison and the soldiers returned to the castle whilst the infuriated populace commanded the streets and shouted abuse (National Library of Scotland Ry.III.a.2(35)).
It was a few years later when another gig was closely observed in Nicolson Street in Edinburgh and by the time that it reached the nearby Infirmary it was surrounded by a large crowd. The two men on the gig then leapt off in fear of their lives and made off. One was identified as Gow, a noted Resurrectionist. The body of a woman of about 50 years of age was found in the vehicle and taken to the local police office. The following day a Falkirk man applied at that police office for a warrant to search the Lecture Rooms at the Infirmary for the body of his wife who had not been seen for a week – it was “believed the poor woman has been Burked!” (National Library of Scotland L.C.Fol.74(123)). Burking means the crime of murdering a person, ordinarily by smothering, for the purpose of selling the corpse and arose out of the trail of William Burke in 1828. It had been reported that the woman was carried off by three men.
The incident in Edinburgh happened around 7.30pm when there were a lot of people on the street and so vehicular movement should have seemed normal. However, most corpses were dug up at night and then hidden to await onward transport. Often this was by the canal network and churchyards in close proximity to these waterways suffered greater depredations than those in town centres. Tradition has it that the isolated churchyard Muiravonside was much harassed in this way. According to one account
“the boatmen were in the habit of raising the bodies before they were twenty-four hours in the ground; sometimes having the audacity to ring the church bell, the rope of which hung on the outside; and before the people of the parish could collect and learn what was wrong the rascals were well on the way to Edinburgh with their barges” (Falkirk Herald 25 July 1867, 2).
The price paid for corpses at Edinburgh has high and “subjects” were transported there from as far away as Liverpool. That city had an organised company of Resurrectionists and one incident in particular stands out. On the afternoon of Monday 9th October 1826 the Carron Company smack called the Latona, commanded by Captain Walker, was lying in the George’s Cock passage there. It was taking in goods for Leith and shortly before dark a cart drove down to the quay, and the carter, assisted by the sailors, deposited three large casks upon the deck of the vessel. They had evidently been Newfoundland oil casks, but they were now marked “Bitter Salts,” and were accompanied by a shipping note which read as follows:
“To the Carron Company.
Please ship on board the Latona three casks of bitter salts, from Mr Brown, agent, Liverpool, to Mr G.H. Ironson, Edinburgh.
J. Brown.
Liverpool, October 9th, 1826.”
Early the next morning while the sailors were moving them they were assailed by so intensely unpleasant a smell that they complained to Captain Walker, and expressed their suspicion that something was wrong. On examining one of the casks the captain found that the bunghole was stuffed with hay, and on removing the hay the stench became absolutely unbearable. He pushed his hand through the opening, and was horrified to feel that he was touching a dead body. The head of the cask was immediately knocked off, and it was found to contain three corpses, which, though packed in salt, were considerably decomposed. A police officer was at once sent for and the casks were found to contain eleven dead bodies. These were immediately conveyed to the dead-house in Chapel Street.
The policeman then went in search of the carter, George Leech, and he informed them that he had brought the casks from a place in Hope Street where there were other casks of the same kind. Under his guidance the police proceeded to Hope Street and Leech pointed out a cellar under the Rev. James Macgowan’s schoolroom. On being asked for the key of the cellar, Macgowan replied that it was not in his possession; that he had let the cellar in January to a man who had given the name of John Henderson, and had stated that he was a cooper belonging to Greenock. The door was then broken open, and a number of casks were found, three of which contained corpses ready for removal. Of the remainder, two were filled with salt and the rest were empty. There were also three sacks filled with bodies, and hanging up against the wall were several extremely dirty canvas dresses which seemed as if they had been worn by the men who had possession of the cellar while engaged in their disgusting employment. These corpses were placed in a cart and also conveyed to the dead-house (taken from the Liverpool Weekly Albion). Henderson had been carrying on his trade for several months. He and his accomplices were later caught and sentenced to 12 months imprisonment and fines of £25 each (Bowman 1979; Liverpool Commercial Chronicle 13 October 1826).
Liverpool had two medical schools of its own at the time of this incident and so it is not surprising that within a few years two private cemetery companies had been established to provide cemeteries beyond its urban limits with tall boundary walls providing additional security. Other cities with medical schools followed suit, including Edinburgh. At Falkirk the cemetery company was only established in 1849 by which time the threat from grave robbers had largely passed.
The barrels of bitter salts were intended to make the final leg of their journey through the Forth and Clyde Canal and thence along the Forth to Leith and on to Edinburgh. This inland navigation bustled with activity. Passage boats travelled between Falkirk and Glasgow and on these young Willie Wyse from Bonnybridge earned his living. He appears to have been blind from birth and soon found himself an orphan. Despite this he was of a cheerful disposition and learned to play the fiddle. He was much in demand at parties and on the passage boats. On the night of 20 September 1829 Willie was invited to play his violin at a kirn, a party marking the end of the harvest, near Dennyloanhead. The merriment continued into the early hours of the morning and Willie made his way home along the familiar towpath alone. On the way he missed his footing and the following afternoon his cap and fiddle-bow were found near the canal. A search soon found his body in the water. His friends saw that he was properly buried in his family’s lair in the Chapel Yard in Bonnybridge. As this was a time when Resurrectionists were active they arranged for his father’s coffin to be lifted and placed above that of Willie.
On the morning of the 29th two men placed a large box on board the Leith, one of the passing luggage boats, at Bonnybridge, with directions to take it to Port Dundas. The crew was told that at that destination porters would be waiting. As the boat proceeded the skipper noticed a smell emanating from the box and he grew suspicious of the nature of its contents. The lid was forced revealing the body of Willie Wyse whom he instantly recognised. The lid was replaced and when the two porters came to collect it at Port Dundas they were confronted. One managed to escape but the other was apprehended and taken to the police station. A letter was sent to Willie’s relatives who went and brought the body back for re-interment (Stirling Journal 24 September 1829). The Canal Company, on learning of the circumstances, had kindly provided a coffin. This time vitriol (sulphuric acid) was poured on the body to ensure that it would be of no further interest to the Resurrectionists (Falkirk Herald 23 April 1904, 7).
The newspaper noted that
“Report names a medical student belonging to a respectable family, not far from Bonnybridge, as one of the men who put the box on board the boat, but for the truth of this, we cannot vouch”
(Stirling Observer 1 October 1929).
The body had been dug up from the isolated graveyard under the cover of the darkness and stored in the barn at Seabegs overnight. The affair caused the greatest excitement and indignation ran high against the unhappy doctor who was said to have done the deed, not in the interests of science but for money. It was the subject of a lengthy and defamatory poem by a local poet. Nor did the indignation of the inhabitants stop at that. Notes were posted on the gate of the meeting-house at Dennyloanhead denouncing those members of the congregation that they held responsible and asking for them to be expelled from the church. Imitation coffins, done in black, were also left at the gate with the lines from Tam o’ Shanter” underneath:
"Coffins stood round like open presses, And showed the dead in their last dresses!"
The name of the doctor involved was carefully excluded from all of the published reports – according to the locals due to his family having money and influence. But the infamy of such deeds lingers and it is evident that the man involved was Dr Charles Grindlay whose father was the farmer at Seabegs. Charles attended the medical classes at Glasgow University with the view of becoming a doctor and upon the death of his father farmed at Seabegs. The wood at Seabegs and the pend under the Forth and Clyde Canal are now known as the Doctor’s Wood and the Doctor’s Pend. After years of vilification the doctor moved to a farm near Denny where he is said to have lived a solitary life and to have come to a sad end (Keir 1921, 19).
In 1828 one law trial relating to the sale of corpses to the Edinburgh medical profession became more famous than any other. Early in 1829 Robert Ralston of Glen Ellrig near Avonbridge was staying in Edinburgh when he received a letter asking for the latest gossip:
“The town, I suppose will be a good deal agitated still, on account of the late murders – “was you at Burke’s trial? Are they going to try Hare or his wife?”
(Falkirk archives).
It was the topic on everyone’s mind. Burke and Hare had been arrested and when Hare turned king’s witness Burke was tried in December 1828 and executed the following month. Strictly speaking they were not Resurrectionists as they did not remove corpses from the graveyards, indeed they did not wait for the individuals to die – they were murderers rather than grave robbers. The career of Burke and Hare and their connection with the Falkirk district is covered by John Walker (Burke & Hare and Helen) in his splendid account and so will not be repeated here.
Watching
Measures taken to stop the Resurrectionists included the use of increased security at graveyards. Night watches patrolled grave sites, the rich placed their dead in secure coffins, and physical barriers such as mortsafes and heavy stone slabs made extraction of corpses more difficult.
At Polmont James Robertson recalled that at the peak of the body snatching
“people took turns in watching the churchyard with loaded guns, and as my uncle had lairs in Polmont Churchyard, he also took his turn with the watcher.”
(Recollections of James Robertson of Laurieston, Falkirk Herald 16 August 1902).
The improper discharging of firearms in graveyards became a frequent occurrence. A local incident occurred at Slamannan in 1819 when Robert Jamieson was on duty one night and heard a disturbance. In a state of great excitement he went out to investigate and hearing a rustling noise he fired his weapon, missing the cow that had strayed into the churchyard but hitting the church window. As a result the use of such weapons was included in the regulations of the Slamannan Churchyard Watch Association:
“Regulations to be observed in watching Slamannan Church Yard from the 28th February, 1825 to the 28th February, 1826.
That four pence be collected from each member of the Association to defray expense of fire, etc.
That Robert Main, John Johnston, James Wardy, John Russell, James Downs, Robert Taylor and Robert Brown are appointed to attend weekly in their turn to see that the ordinary watch be attending to their duties.
That no person having lairs or residing in the Parish who does not join the Association, previous to having any appearance of requiring the watch, shall have any claim thereto. But those who reside in the Parish on taking up Lairs shall become entitled to the advantage of the watch if they join the Association at the same time.
That every person regularly warned must be at his post at the hour appointed and continue on duty until relieved by some member of the Second Committee. Whenever any person does not come at the hour appointed in that case the Second Committee shall hire a man in his place, and although he should afterwards come he shall not be admitted, but must pay the man employed and a fine of one shilling beside.
That every person off duty shall pay a fine of two shillings and sixpence.
That no person be permitted to watch under sixteen years of age and none rendered unfit by age or otherwise.
That the watch shall in no case disgorge their firearms except in case of alarm under the penalty of one shilling toties quoties, all fines to be exacted by the Second Committee.
That any person alarming or intimidating the watch shall be prosecuted by the Association.
That the members of the Committee must keep an exact record of the nights in which every member in their quarter watched during the year.
That the Committee serve each member in their quarter with a note of the nights he is to watch on 24 hours notice. And that every member of the Committee receive 48 hours notice before his quarter commences.
That two glass lamps be procured and swing on poles near the graves watched when there is no moonlight.
That the watch continue 8 weeks in Summer and 10 weeks in winter after the last interment entitled to the watch.
The Committee at their last meeting enjoined the Second Committee to permit no person, who has incurred fines either by not coming at all or coming too late, to watch or have any advantage by it till these are paid, and appoint the Committee not to warn these out till the expense be paid.
That no person be called who does not subscribe the regulations and pay the four pence.”
(Waugh 1979, 92-93.)

Illus 1: The Session House at Slamannan with the Church Hall in the background.
The collecting house adjacent to the main entrance to the graveyard at Slamannan was used by the men watching over the burial ground at night. In May 1830 the Heritors noted that :
“unless depredations committed by the watchmen on the Collecting House be made good the accommodation will no longer be granted”.

Illus 2: The Entrance to Denny Churchyard with the Session House to the right.
Some of these depredations were due to the influence of drink. At Bo’ness every householder had to take his turn in the watch-house or find a substitute. It was usual to watch for at least a sufficient time for the body to be considerably decomposed. Some of the local worthies made a profession of watching, and they were paid for their services at the rate of 1s for each night. In addition, parties employing them invariably provided bread and porter for supper. It was no unusual thing therefore for miners on their way to work in the early morning to find certain of these watchers hanging over the churchyard wall suffering from a more potent influence than the want of sleep (Salmon 1913, 420).

Most churchyards in the Falkirk area had makeshift watch houses. In many instances this merely meant utilising existing Session or Collecting Houses which were located beside the main entrance. At Airth Old Churchyard a modest lean-to structure seems to have been specifically erected. The best example lies at Dunipace, though it has deteriorated significantly in recent years. It is small, measuring only 3.9m x 3.5m externally, and has a fireplace in its west gable. However, there are none of the grandiose towers that occur in the vicinity of Edinburgh.
| Airth | West side of cart entrance | Traces of plaster on boundary wall & pantiles. |
| Bo’ness | NE corner of upper Churchyard | |
| Denny | Session House beside gate off Broad Street. | No trace. |
| Dunipace | Beside SE entrance | In ruins. |
| Falkirk | Collecting house beside the Manse Place entrance | No trace. |
| Larbert | NE corner of later walled garden | Slight evidence of foundations. |
| Muiravonside | Adjacent to the Churchyard entrance | No trace. |
| Slamannan | Session House beside the gate | Still extant. |
Dogs were a useful asset to have on such occasions as they would detect the presence of strangers in the vicinity before the watchers themselves. An attempt to raise a body was made in the new churchyard at Airth on the night of Sunday the 20th July 1820. An old man had been buried there on the 13th June.
“The depredators, while employed at their unhallowed task, were scared by the approach of a neighbouring farmer who was coming to the village, accompanied by his dog, to purchase some medicine for a horse that had been taken ill under night. The dog, on passing, ran into the church-yard and commenced barking furiously; and, though repeatedly called off, he would not quit his place. When alarmed by the dog, the Resurrectionists decamped; – and it was not till a day or two afterwards, that some scholars attending the parish school observed nearly one half of the earth had been taken out of the grave and the sods all carefully laid to one side. The circumstance was no sooner known than a number of inhabitants turned out and opened the grave; when they discovered that the lid of the coffin had been broken and the body partly drawn out. It is shrewdly suspected that the Resurrectionists live in Airth; and should they continue their midnight depredations, means are being taken to ensure their detection, when they will have no chance of escaping the punishment they so richly merit”
(Stirling Journal 1 July 1820, 4).
Gillespie (1868, 58) notes that the exhumed body of the young woman discovered in Linlithgow in 1823 was brought back to Larbert and reinterred “For some months after this, the watch-house – still standing in the churchyard – was regularly occupied. Latterly, however, burial ground watching became a mere farce.” The watch-house is no longer there.
Mortsafes
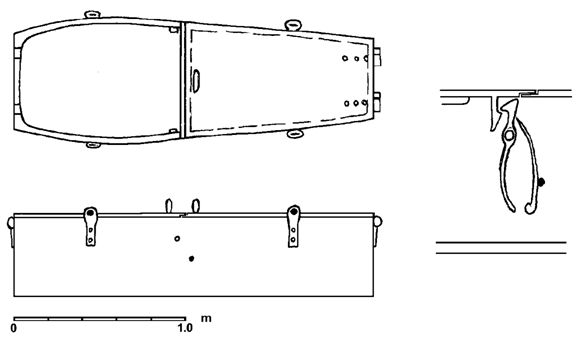
Recumbent stone slabs, or “through stones” as they had been called, were seen to slow down the nocturnal progress of the grave robbers and so such heavy slabs were often temporarily placed over the resting places of the recently deceased. One enormous stone in Falkirk Parish Churchyard, some 6ft in length, took four able-bodied men to lever it to one side in 1887 before a new burial could be carried out. It was still possible to tunnel under the stones from the side and so iron cages or boxes were manufactured to wrap around the wooden coffins and these were buried in the ground. Once the body had decayed to the point where it was no longer a commercially valuable commodity the grave was opened up and the exoskeleton removed. The iron cage or box could then be re-used. The period of use varied from place to place and they were often simply left in the ground until required for the next burial. It soon became known as a mortsafe. In many of the parishes up and down the length of Scotland the local people grouped together to defeat the Resurrectionists by forming mortsafe societies. As with the hearse societies, subscribers got the free use of the society’s property whilst outsiders paid a rent for the use of the safe.
The design of the mortsafe varied considerably and many can still be spied in country graveyards. The cage, being cheaper than the box, was the most common form. This was an arrangement of heavy iron bars, riveted or welded together, a lid put on, and secured with bolts. James Love mentions the discovery of one of these mortsafes at Polmont:
“…and in the churchyard of Polmont, in March, 1904, while a grave was being opened, there was discovered, when six feet down, the frame of a coffin measuring six feet six inches by two feet, made of malleable iron bars bolted together. The coffin itself had evidently been secured inside, as small pieces of wood were still adhering to some of the bolts.”

Particularly fine examples of the strong iron chests can be found in the old churchyard beside Airth Castle. The three that survive bear the dates 1831, 1832 and 1837, together with the word “AIRTH” upon their hinged lids. This suggests that they were especially commissioned by the Airth Mortsafe Society and that they may well have been made at the not too distant Carron Ironworks. These cumbersome articles were lowered into the ground with a block and tackle, and then later retrieved in the same way. Each has four lifting eyes attached to the upper edges for this purpose.




The bodies of these coffin-shaped chests were cast in one piece and the four wrought iron eyelets were double riveted onto the sides. Barrel hinges to swing the bipartite lids were attached to the ends in a similar manner using three rivets. The knuckle part of the hinge protruded into the top of the chest and so rectangular patches had to be cut out with a cold chisel. The two halves of the lid overlapped when closed making it impossible to get a lever into the gap. That side of the lid that remained uppermost had a hook on the underside. When closed it latched onto a spring-loaded clip. The only way of releasing the spring was by using a key pushed through a hold in the side of the chest – and the only way of doing that was to clear the earth away from it. At the joining edge of the two lid segments iron loops were placed on the top through which a padlock and chain could be passed.
A fourth mortsafe, dated 1831, was used at the new church at the north side of the village of Airth and was photographed there by the Royal Commission in the late 1950s (RCAHMS 1963 plate 51C). It is now on display in the National Museum of Scotland in Edinburgh (Museum reference H.1993.567). A report in 1905 suggests that there was originally an even larger number of such safes at Airth (Falkirk Herald 15 July 1905, 6, puts the number as about a dozen, though it is doubtful that so many would have been needed.) Linlithgow, it is said, only had three. It is hard to ascertain the original numbers as many may have been left in the ground.
A local historian mentions that mortsafes took the form of heavy metal cases, or of a wooden-house with a stone, which was put over the coffin of the dead for some weeks after interment (Gillespie 1868, 58). The use of a mortsafe required additional work and as late as 1851 the list of burial charges at Falkirk noted that “when a Safe is put in, the digging is charged a half more.”
The Last Known Case
The increasing anger of the general populace over the activities of the Resurrectionists meant that the authorities had to act to increase the legal supply of cadavers. This was brought to a crisis when it turned out that Burke and Hare had resorted to murder to supply the medical school at Edinburgh. By the “Anatomy Act” of 1832 the bodies of persons dying friendless, in poorhouses, hospitals and elsewhere, were handed over to qualified surgeons. As a consequence the supply substantially increased and the Resurrectionists ceased their detestable practices.
Perhaps the last case of body snatching in the Falkirk area involved one of the best-known medical men of the age – Professor James Young Simpson who promoted the use of chloroform in anaesthetics. As a young man he had been a doctor’s assistant at Camelon and even excavated on the Roman fort there. By the 1850s the supply of corpses through legitimate channels was largely sufficient for the medical schools, however, there were special cases, such as the death of an individual though some unusual cause, that exciting the attention of the profession. Simpson returned to dig on the Camelon fort in 1861. The following incident was related by David Ronald of Dorrator in his memoirs:
“I cannot speak of old Russell without mentioning an incident that took place at Camelon Churchyard. Sir James Y. Simpson had some connection with Old Rus¬sell and I understand visited him frequently; Russell related the story to my father. I was a youngster and sat and listened. The story was somewhat in these terms.
Russell received a letter from Simpson, when he was a medical practitioner and long before the discovery of chloroform, that he was coming to Seamores and wanted to discuss with him a subject that he could not put into writing. In due course Simpson arrived from Edinburgh and told Russell that someone had died in Camelon and he had found out that the burial had taken place in Camelon Churchyard. This man it seems had died of some disease which Simpson wanted to investigate, and he wanted the body removed to Surgeon’s Hall in Edinburgh. Would Russell come with him to Camelon Churchyard, open the grave and get the body out of the coffin? Russell agreed he would. They discussed the matter and arranged how all this was to be carried out unknown to the public. I cannot remember all the details but they resorted one night to Camelon Graveyard with shovels. They excavated the grave (they were young men and strong) took the body from the coffin, replaced the coffin and roughly filled the grave. They took the corpse to the trap (I have often wondered what they did with this trap while they were excavating), put a coat and hat on the corpse and sat it up in the middle of the seat. Simpson sat and steadied the body and old Russell drove the trap to Edinburgh overnight. They arrived at Surgeon’s Hall at the break of daylight next morning. He stabled his horse to give it a rest, stayed with Simpson for the day, and drove home next night. He went on to say that they never heard anything more about the incident.”
The mention of the use of chloroform suggests that this event occurred around 1847 when that substance was first tried on human patients. We know that Professor Millar, Professor Simpson and Professor Harry Rainey were all seen in Falkirk High Street in July 1850 (Falkirk Herald 11 July 1850, 3) as it was the cause of great speculation of some disastrous medical condition affecting the town – but it turned out that they were attending a meal at the Red Lion Inn. Millar was the Professor of Pathology at Glasgow University and Rainey of Forensic Medicine there. This would have been an appropriate occasion.
Bibliography
| Bowman, I. | 1979 | ‘The Carron Line: part 1, Carron Sail 1759-1850,’ Transport History 10.2, 143-170 |
| RCAHMS | 1963 | Stirlingshire: An Inventory of the Ancient Monuments. |
| Salmon, T.J. | 1913 | Borrowstounness and District. |
| Walker, J. | 2011 | Burke & Hare and Helen: Falkirk District and the West Port Murders. |
